首页 < 阻火器
防爆阻火透气帽(TQM型)

 

产品概述:

     防爆阻火透气帽也称阻火通气罩,通常装在输送或排放易燃易爆气体的储罐和管线末端,是用来阻止易燃气体、液体的火焰和防止回火而引起爆炸的安全装置。可用于火炬、加热燃烧系统、石油气体回收系统或其他易燃气体系统。

      本公司应用美国、德国的先进技术,用一流的加工工艺设备和先进的检测手段,所生产的防爆波纹阻火器,具有结构紧凑、性能稳定、防爆防腐、便于安装清洗等有点。


        

主要技术参数:

型  号

Model

TQM

 防爆等级   

Explosion group

BS 5501:ⅡA ⅡB ⅡC

规  格

Size

DN 15~600   GB 81~59

PN 0.6~2.5   FF  RF

设计制造检测标准

Manufacture Inspection

GB5908-86 SY7511-87

壳体材质

Body

L2  A3  304  304L

316  316L  Lining

密封垫片

Diaphragm(P/V)

丁晴橡胶聚四氟乙烯金属垫片

NBR PTFE Metal Gasket

阻火芯件材质

Flame Arrestor

不锈钢防爆阻火波纹板

环境温度    

Ambient Temperature

CS:-30℃~+350℃

SS:-80℃~+480℃

法兰标准

Flanges

HG GB  SH  HGJ  JB ANSI JIS

连接方式

Jonit Type

法兰连接 对焊连接 螺纹连接
Flange Threaded Butt Welding

螺帽螺栓   

Bolt/Nut

20# 304 304L 316 316L

外    表
Coating

CS:Paint  SS:No Paint

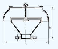
规格尺寸:

DN

15

20

25

32

40

50

65

80

100

125

150

200

250

300

350

400

in

1/2

3/4

1

11/4

11/2

2

21/2

3

4

5

6

8

10

12

14

16

L

/

195

195

220

220

245

245

280

325

325

427

496

593

860

860

1250

H

/

200

200

236

236

240

240

270

274

274

288

306

320

580

580

850

 
上一篇:砾石阻火器(ZHQ-S型)
下一篇:管道散热放空阻火器(ZHQ-R型)